江苏捷捷微电子股份有限公司近日公布一项名为“一种纵向变掺杂的igbt结构及制备方法”的专利(申请公布号:cn118969825a),申请公布日为2024年11月15日。

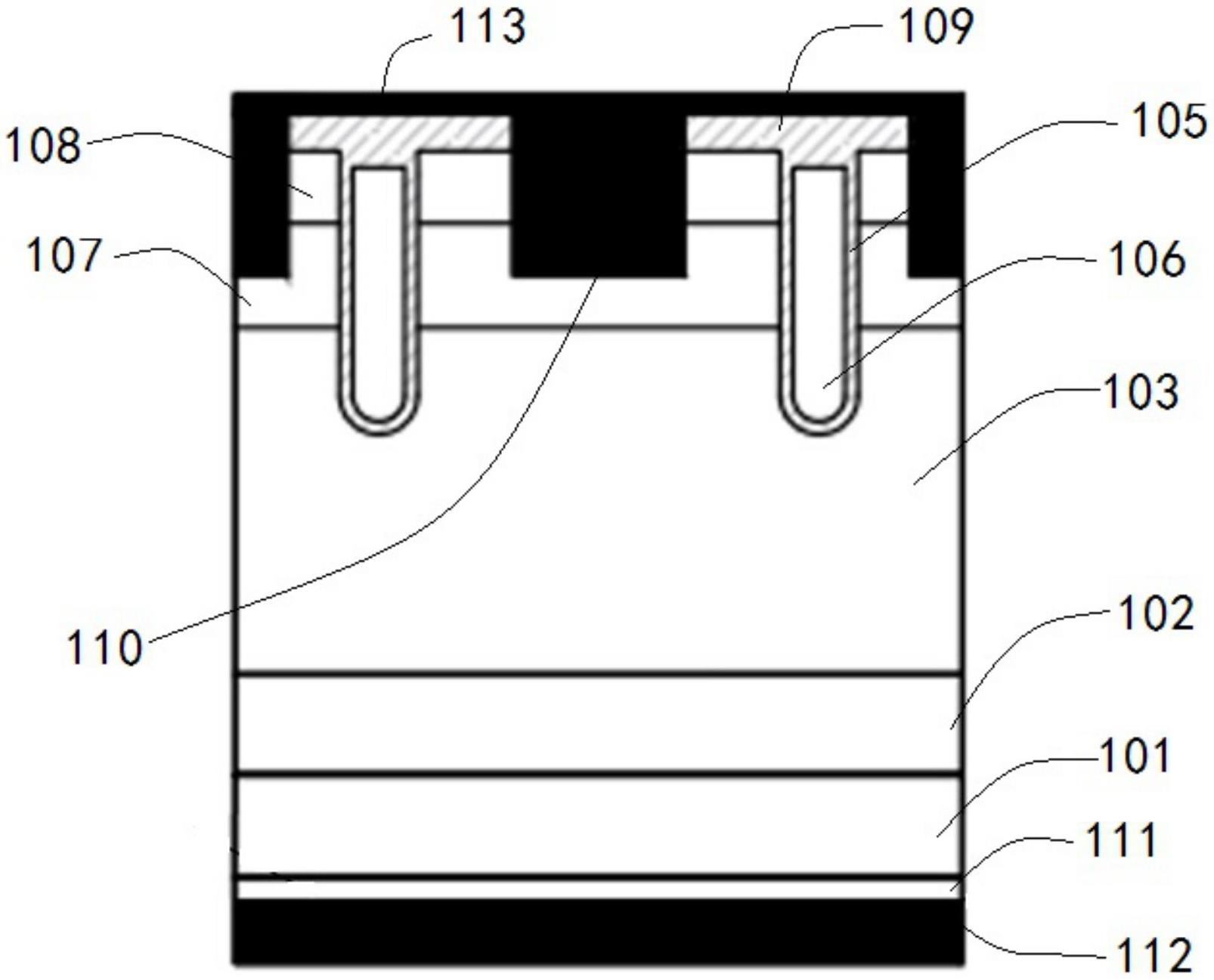
该专利属于半导体技术领域,尤其关注IGBT器件的结构和制备工艺。其核心在于一种创新的纵向变掺杂IGBT结构,该结构包含:第一导电类型的半导体衬底;衬底正面设置的元胞区;以及衬底背面与集电极结构之间的过渡区。 过渡区由电场缓变层和场截止层构成,其中电场缓变层为第一导电类型的变掺杂层,场截止层为第一导电类型的重掺杂层,集电极结构则位于场截止层背面。 这种设计旨在有效避免因后续电场抬高而导致的器件失效问题。
感谢您的来访,获取更多精彩文章请收藏本站。
© 版权声明
THE END















暂无评论内容