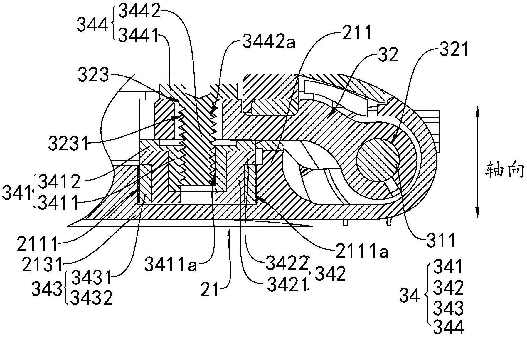
荣耀终端有限公司一项关于“减震结构和可折叠设备”的专利申请已公开,申请公布日为2024年11月15日,公布号为cn118963489a。

该专利涉及一种新型的终端设备技术,其可折叠设备包含第一折叠体、第二折叠体和一个转轴机构。转轴机构由第一转动件和第二转动件构成,第一转动件与第一折叠体固定连接,第二转动件则可与第一转动件相对转动,并通过减震结构与第二折叠体连接。这项专利技术的核心在于其减震结构,能够有效吸收外部冲击力,将第一折叠体晃动产生的动能转化为热能耗散,从而快速稳定设备。
| 王者荣耀相关攻略 | ||
| 王者荣耀苍维京掠夺者皮肤多少钱 苍维京掠夺者皮肤价格一览 | 王者荣耀苍阿轲米莱狄传说皮肤 冷门英雄传说皮肤投票结果介绍 | 《王者荣耀》2v2匹配段位规则介绍 |
| 高效利用电脑安卓手机模拟器:掌握功能与使用技巧 | 《王者荣耀》首款传说皮肤所属英雄介绍 | 荣耀 Magic7 RSR 保时捷设计手机发布:骁龙 8 至尊版、200MP 超感光潜望长焦,7999 元起 |
| 逍遥模拟器怎么设置?逍遥模拟器使用教程 | 荣耀 Magic7 Pro 专业影像套装公布:提供补光灯、遮光罩、滤镜可单独购买 | 荣耀手机与哪吒 2 电影达成合作 |
| 荣耀官宣与哪吒 2 电影开启新春合作,2025 魔法科技年货节同步开启 | 荣耀官宣与哪吒 2 电影开启新春合作,魔法科技年货节今日开启 | 《王者荣耀》2v2算不算胜率一览 |
| 7999元起!荣耀Magic7 RSR来了:AI长焦成大卖点 | 荣耀 CEO 赵明回应何时推出三折叠手机:敬请期待 | 王者荣耀典韦铁骨偃魂怎么样 王者荣耀典韦铁骨偃魂皮肤介绍 |
| 王者荣耀QQ飞车联动怎么样 QQ飞车联动姬小满飞车小橘子介绍 | 王者荣耀s38新增荣耀之路系统怎么玩 s38新增荣耀之路系统信息一览 | 《王者荣耀》s38赛季打野位调整介绍 |
| 《王者荣耀》孙膑茶境仙皮肤上线时间 | 《王者荣耀》马超访茗客皮肤获取方法 | 《王者荣耀》孙膑茶境仙皮肤获取方法 |
| 王者荣耀2025战令皮肤怎么获取详情 王者荣耀2025战令皮肤怎么获取介绍 | 《王者荣耀》孙膑桃源仙皮肤上线时间 | 《王者荣耀》马超访茗客皮肤上线时间 |
| 王者荣耀新英雄镜什么时候上线 王者荣耀新英雄镜上线时间介绍 | 《王者荣耀》S38赛季王者峡谷调整内容 | 《王者荣耀》S38赛季英雄调整内容介绍 |
| 荣耀 GT 手机获推 MagicOS 9.0.0.131:增加路人移除、音量快捷调节面板、幻影稳帧功能开关 | 《王者荣耀》影魅影绮裳皮肤获取价格 | 《王者荣耀》S38赛季新增荣耀之路系统介绍 |
感谢您的来访,获取更多精彩文章请收藏本站。
© 版权声明
THE END















暂无评论内容